RAIL SWAP
  • Buy
  • Sell
  • Trade
  • Preserve!

RailSwap.org

Home > Tech_Index > Alco

TECH INFO: Alco Diesels

This section is being developed to hold technical information useful to people using, restoring, and maintaining various types of railroad equipment. Please use the feedback form if you have information you would like posted here.

Maintenance Information

Description Source publication #  
Locomotive Inspection: Tips from an Expert Steve Lee (UPRR)   locoinsp.htm

Tool Information

251 only

Tool notes publication #  
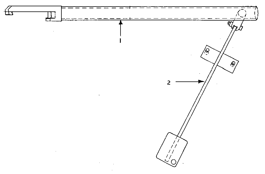
Overview of Barring Tool and Jack for 251B,C Alco pn 2290052-1 and 2290057 Alco NT2A
(p. 251W-1)
251bar_ov1.gif
251bar_ov2.gif
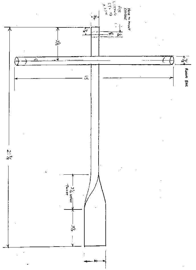
Barring Tool for 251B,C flywheel groove type various complete, dimensioned
drawings available on request
Barring Jack for 251B,C (photos) for above   treadle.jpg
pushrod.jpg
Barring Jack for 251B,C (drawings) for above Alco Bulletin #43 alco_bul43_p1.jpg
alco_bul43_f1.jpg
alco_bul43_f2a.jpg
alco_bul43_f2b.jpg
alco_bul43_f3.jpg

Sincere thanks to Kevin McGarvey of Livonia, Avon and Lakeville RR for Alco bulletin #43.

244 only

I hope to be cleaning up and adding detail to the sketches listed, and creating drawings of the missing items soon.

Tool notes publication #  
Power assembly lifter based on Alco 2470401 Tool catalog NT2, page 8 244lifter.jpg (51kB)
  bolts for rod blocks;
length is approximate!
item B-4 244connbolt.gif
  rod blocks item B-2 244blockside.gif
244blocktop.gif
  piston lifting plate items B-5,6 working on it
  liner lifting plate item B-1 working on it
  rod bearing retainers item B-3 working on it
Head lifter similar to Alco 2470441   244headtop.gif
244headend.gif

Thanks very much to Carl Weber Jr. and Howard Pincus of the RR Museum of New England for sketches of 244 tools.

244 or 251

Tool notes publication #  
Ring Compressor made from 244 or 251 liner GE EB-56 .tif file (239kB)

244, 251, or 539

Tool notes for publication #  
Valve Cage Tool for WABCo 3CD Compressors - - 3cdtool.htm
Injector Test Stand based on Alco 2470513 244, 251,539 Alco NT2A
(p. 251J-14)
injtest.htm
  overview picture     251j-14.jpg
  pump mounting base     pump_base.gif
  pump spacer blocks     pump_spacers.gif
  pump actuating plunger     pump_plunger.gif
  pump actuating cam     pump_cam.gif
  fuel supply fitting     fuel_inlet.gif
  fuel delivery block (old style)     delivery_block.gif
  fuel delivery coupling     coupling.gif
  improved delivery block     new_block.gif
  delivery valve holder details     pump_cc.jpg
pump_cq.jpg
pump_d.jpg
  fuel tubing (sketch of 539/244)     tubing.gif

Sincere appreciation to BC Clark of the Hobo RR for assistance with Alco tool manuals.

 

Notes on using these files

  1. Where practical, files are html or jpg or gif graphics. They are usually drawn to fit an 8.5 x 11" page. Experiment with your page margins if you are trying to print images on one page.

  2. Some files, which require lots of detail, are .tif (TIFF) graphics files, with LZH compression enabled and 16kb block size. You may be able to open this file in your browser, using a plug-in like Kodak Imaging Preview. Alternately, you can save the file and open it in most popular word processors or a drawing program.

  3. Some drawings are to actual size. If you print these, you will probably find they are no longer actual size. Each of these drawings has a cross drawn on it that needs to be made 1" by 1". With any luck, you can use a copied to enlarge or reduce the image as required to get the correct scale.


Google
 
Web railswap.org

Site contents are copyrighted.